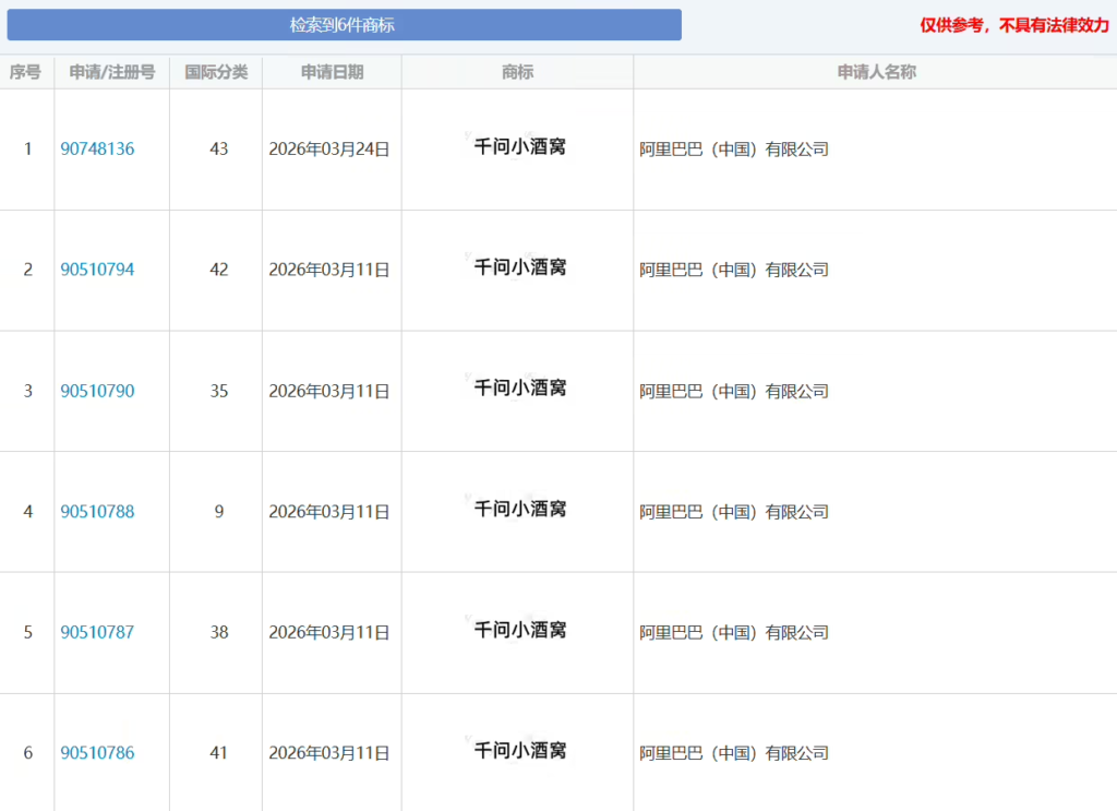
ITCOW牛新网 4月21日消息,今日多家媒体爆出,阿里巴巴(中国)有限公司已于 2026 年 3 月 11 日申请注册多枚“千问小酒窝”商标,国际分类涵盖第 9 类(科学仪器)、第 35 类(广告销售)、第 38 类(通讯服务)及第 42 类(设计研究)。申请项目具体涉及人工智能即服务(AIaaS)、模拟对话用聊天机器人软件,以及科学研究用、辅助人类和供人娱乐用具有人工智能的人形机器人等细分领域。

结合阿里集团昨日(4 月 20 日)发布的“4 月 22 日见”预热海报——画面中呈现了一位带有酒窝的 AI 女生形象并配有“Hello World”字样,外界普遍推测这预示着阿里即将推出全新的 AI 数字人形象或相关新技术。目前官方尚未公布更多细节,具体内容预计将在明日(4 月 22 日)正式揭晓。
